Select language:
CHINESE
|
英文版
LED Digital Tube
LED light-emitting diode
Capacitor Series
Capacitance specifiactions table
SCR
KP Series possession of apperatus
Q-T-T Series tube apparatus
YX series of hats (glass)
ZP series of hats (glass)
ZP series of hats (ceramics)
Transistors
High-frequency crystal resonator
You are here:
Home Page
> Product
ZP series of hats (ceramics)
>> ZP series of hats (ceramics)
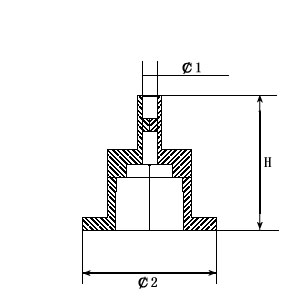
Power semiconductor rectifier tube tube apparatus 2 (ceramics)
Model
¢1
¢2
H
Remarks
EF
2
13.4
19
Via
EP10
3.5
18
31
-
LZ19
6
27
36
-
LZ28
11
36
50
-
LZ20-50
5
23.8
32.5
LZ50-100
7.5
29.6
41
LZ100-200
11
40
48.5
LE300
14
40
62
DO8
5.5
26.5
31
Hits:1326 UpdateTime:2011/7/25 【
Print
】 【
Close
】
Copyright © 2011 Yixing shi Zhong Tian Radio Devices CO.,LTD. All Rights Reserved.
ADD:Ming Ling,Zhang zhu Zhen,Yi Xing Shi,China Tel:086-510-87341246 E-Mail:
888@yxztdz.com